成都生物研究所“一种水污染事故应急处理方法”获国家知识产权局发明专利(专利号:ZL 201110218477.3)。
近年来,我国重大突发环境污染事故频发,研究能快速处理突发环境污染事故的技术和方法,显得尤为必要。这些事故的共同特征是:污染物以液态形式扩散,造成污染范围扩大;污染物汇同消防水、雨水等经沟渠进入天然水体。
国内目前主要借用已有闸门、构筑土坝或活性炭堤坝等简易技术,实现突发水污染事故中污染物的阻断拦截。虽然该方法在一定程度上能起到阻断拦截的作用,但其仅仅是对污染物的短暂简易拦截,存在工程量大、操作复杂,无法有效阻断拦截流量大的液态污染物、无污染物分离收集功能等问题。
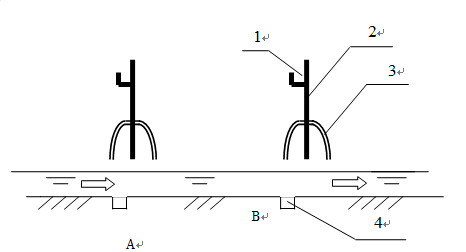
成都生物所研究人员针对现有方法的不足,发明了一种基于多功能闸门的水污染事故应急处理方法,灵活组合两个及两个以上多功能闸门,对突发污染事故中的液体污染物(包括可溶性、难溶性污染物)进行拦截、分离和回收或拦截与阻断。针对重质污染物、轻质污染物或重质与轻质污染物同时泄漏的情况,通过调节导流管的流量与液位来达到拦截、回收污染物的目的。该发明通过将闸门设置在厂区或园区内的沟渠上,能有效应急处理难溶性和可溶性液态污染物造成的突发事件,从而防止污染物进入天然水体造成环境污染与进一步危害。

A为闸门1,B为闸门2;(1)为轻质污染物收集槽,(2)为闸体,(3)为导流管,(4)为重质污染物收集槽;
